Saturday April 2026

হটলাইন

কনটেন্টটি শেষ হাল-নাগাদ করা হয়েছে: সোমবার, ২০ সেপ্টেম্বর, ২০২১ এ ০৬:১৮ PM

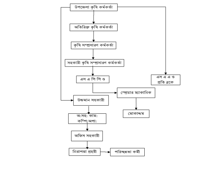
সাংগঠনিক কাঠামো

কন্টেন্ট: পাতা

উপজেলা কৃষি অফিসার- ১জন

অতিরিক্ত কৃষি অফিসার- ১জন

কৃষি সম্প্রসারণ অফিসার- ২জন

সহকারী কৃষি সম্প্রসারণ অফিসার- ১জন

উপ সহকারী কৃষি অফিসার- ২৮জন

উপ সহকারী উদ্ভিদ সংরক্ষণ অফিসার- ১জন

উচ্চমান সহকারী কাম হিসাব রক্ষক- ১জন

অফিস সহকারী কাম কম্পিউটার মুদ্রাক্ষরিক- ২জন

স্প্রেয়ার মেকানিক- ১জন

নিরাপত্তা প্রহরী-২জন

অফিস সহায়ক- ১জন

পরিচ্চন্নতাকর্মী- ১জন

ফাইল ১

এক্সেসিবিলিটি

স্ক্রিন রিডার ডাউনলোড করুন